Uitlaat compleet 32mm 15.03.92
Uitlaat compleet 32mm
15.03.92
- Uitlaataansluiting
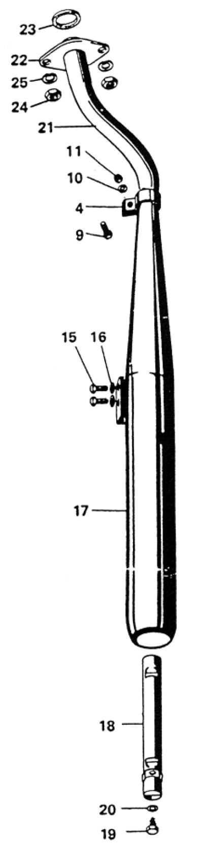
- flens 2-gaats
- Uitlaat diameter
- 32 mm
- Materiaal
- staal
- Oppervlaktebescherming
- verchroomd
Stuklijst van deze module
N° | Code | Omschrijving | Aantal |
---|---|---|---|
27.61.99 |
Uitlaatdemper eendelig 32mm
onderdelen zijn apart opgelijst |
0 | |
4 | 27.61.03 | Uitlaatklem 34mm chrome | 1 |
9 | 00.11.55 | Zeskantbout M8x25 DIN 933 verchroomd | 1 |
10 | 00.43.65 | Gegolfde veerring M8 DIN 137 B | 1 |
11 | 00.20.22 | Zeskantmoer M8 DIN 934 | 1 |
15 | 00.11.57 | Zeskantbout M8x14 DIN 933 | 2 |
16 | 00.43.65 | Gegolfde veerring M8 DIN 137 B | 2 |
17 | 27.61.98 | Uitlaatmantel | 1 |
18 | 27.61.97 | Binnendemper | 1 |
19 | 00.19.33 | Zeskant plaatschroef A6,5x19 DIN 7976 | 1 |
20 | 00.30.02 | Ring 6,4 DIN 125 | 1 |
21 | 01.00.31 |
Uitlaatbocht met hoge lip/bus
van motornummer 5116428 tot motornummer 5121092 |
1 |
21 | 15.03.16 |
Uitlaatbocht 32mm Flens
van motornummer 5121093 |
1 |
22 | 27.61.06 | Flens 34mm | 1 |
23 | 00.70.17 | Dichtring C32x38 DIN 7603 massief | 1 |
24 | 00.20.19 | Zeskantmoer M6 DIN 934 | 2 |
25 | 00.43.37 | Veerring B6 DIN 127 | 2 |
Explosietekening

Pagina delen
Deel deze pagina via
of kopieer de link