Gashandel 255.03.92
Gashandel
255.03.92
- Fabrikant
- Magura
- Referentie fabrikant
- D 233.2.7 lc/ksz | D 233.2.8 lc/ksz 3
- Reeks fabrikant
- D233
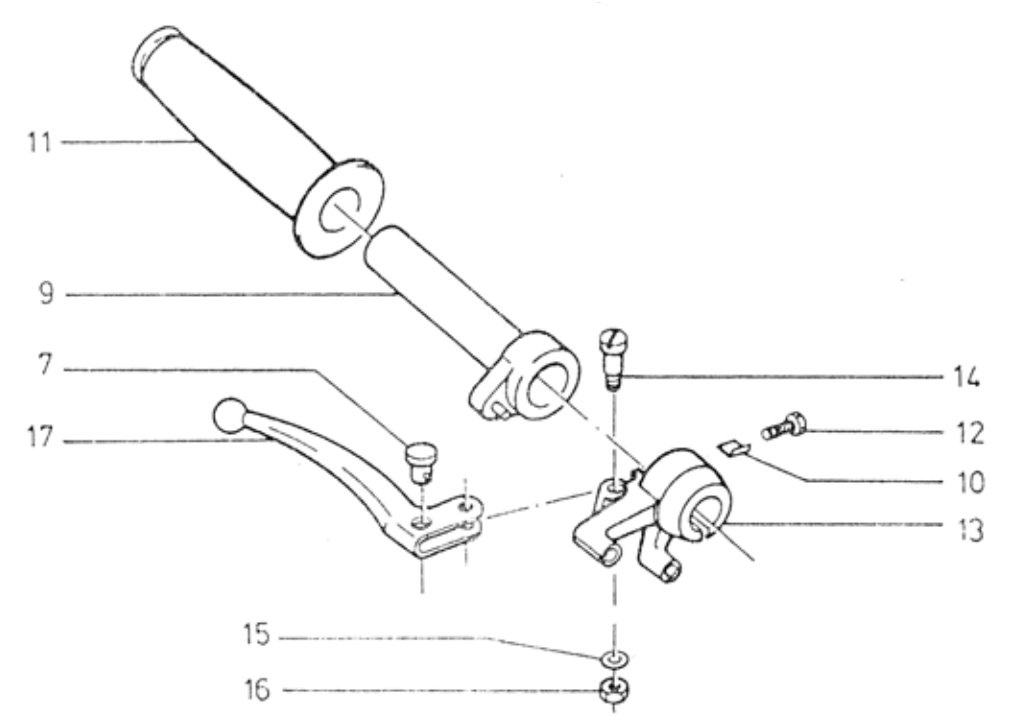
Stuklijst van deze module
N° | Code | Omschrijving | Aantal |
---|---|---|---|
05.13.45 |
Gasdraaibuis
onderdelen zijn apart opgelijst |
1 | |
7 | 05.12.35 |
Steeknippel
niet inbegrepen |
0 |
9 | 05.13.46 | Gasdraaibuis kaal | 1 |
10 | 05.13.47 | Remveerplaatje | 1 |
11 | 05.12.62a | Handvat (draaigreep) zwart | 1 |
12 | 05.10.17 | Lensbout M6X15 | 1 |
13 | 05.13.43 | Gashendelhuis | 1 |
14 | 05.10.32 | Hevelbout M5 (zonder moer) | 1 |
15 | 00.40.52 |
Getande borgring J5,3
oud model |
1 |
16 | 00.20.02 |
Zeskantmoer M5 DIN 934
oud model |
1 |
16 | 00.20.04 |
Zeskantmoer M5 DIN 934
nieuw model |
1 |
17 | 05.13.44 |
Remgreep met knop v.hand/voetv.
oud model |
1 |
17 | 05.13.72 |
Handremgreep voor gashendel
nieuw model |
1 |
Explosietekening

Pagina delen
Deel deze pagina via
of kopieer de link