Dubbel hendel 255.03.95
Dubbel hendel
255.03.95
- Fabrikant
- Ci.Te.
Dit onderdeel werd vervangen door 255.03.91 Startkoppelingshevel
Stuklijst van deze module
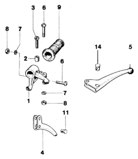
N° | Code | Omschrijving | Aantal |
---|---|---|---|
1 | 05.14.01 | Hendelhuis | 1 |
2 | 05.14.05 | Afstandsring | 1 |
3 | 00.17.41 | Cilinderbout | 1 |
4 | 05.14.02 | Handgreephevel kort | 1 |
5 | 05.14.03 | Handrem hevel lang Links | 1 |
6 | 05.14.04 | Hevelbout | 2 |
7 | 00.43.37 | Veerring B6 DIN 127 | 2 |
8 | 05.14.13 | Moer | 2 |
9 | 255.03.05 |
Handvatrubber links
niet inbegrepen |
0 |
11 | 255.04.06 |
Kabelsteeknippel
niet inbegrepen |
0 |
Explosietekening

Pagina delen
Deel deze pagina via
of kopieer de link