Koppelingshendel 57.33.95
Koppelingshendel
57.33.95
- Fabrikant
- Magura
- Referentie fabrikant
- H 216.22 lc
- Reeks fabrikant
- H216
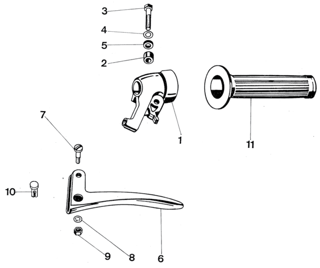
Stuklijst van deze module
N° | Code | Omschrijving | Aantal |
---|---|---|---|
05.12.48 |
Draaideel
onderdelen zijn apart opgelijst |
0 | |
1 | 05.12.49 | Verlengstukdeel | 1 |
2 | 05.12.47 | Afstandsbus | 1 |
3 | 00.10.51 | Zeskantbout M6x25 DIN 931 | 1 |
4 | 00.43.53 | Gewelfde veerring M6 DIN 137 A | 1 |
5 | 00.30.10 | Ring 6,4 DIN 125 | 1 |
6 | 05.12.50 | Koppelingsgreep | 1 |
7 | 05.10.32 | Hevelbout M5 (zonder moer) | 1 |
8 | 00.40.52 | Getande borgring J5,3 | 1 |
9 | 00.20.04 | Zeskantmoer M5 DIN 934 | 1 |
10 | 05.12.35 | Steeknippel | 1 |
11 | 57.23.05 | Handvat creme (klein gat) | 1 |
11 | 57.23.53 |
Handvat voor Zweden
voor Zweedse modellen |
1 |
Explosietekening

Pagina delen
Deel deze pagina via
of kopieer de link